G80 Sling Hook – Swivel Type
SS Type Swivel Sling Hooks are designed with a plain bush bearing swivel thus allowing the hook to swivel under load. Comes with heavy duty Safety Latch.
- Marked with Chain size, product ID, grade with manufacture quality mark and Austlift branded.
- Manufactured from G80 alloy steel with a safety factor of 4 to 1.
- Test Certificates available upon request.
- Conforms to AS3776.
- Spare Latch Kits are available.
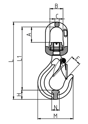
| CODE | CHAIN SIZE | WLL | Wt. | DIMENSIONS (mm) | ||||||||
|---|---|---|---|---|---|---|---|---|---|---|---|---|
| mm | tonne | kg | A | B | C | E | H | M | L1 | L | N | |
| 103308 | 8 | 2 | 0.95 | 42 | 36 | 13 | 28.5 | 23 | 88 | 170 | 208 | 20 |
| 103310 | 10 | 3.15 | 1.71 | 50 | 42 | 15.5 | 31 | 29.5 | 105 | 204.8 | 251.7 | 23 |
| 103313 | 13 | 5.3 | 2.97 | 58 | 50 | 17 | 43.7 | 38 | 135 | 242 | 303.6 | 32 |
| 103316 | 16 | 8 | 5.3 | 63.5 | 61 | 21.5 | 45 | 45.4 | 161 | 291.8 | 360.8 | 37.5 |

