Select Page

G80 Clevis Shackle

Austlift G80 clevis shackle, has been designed to use as a terminal end connecting directing to the chain at the clevis end.

  • Marked with Chain size, batch number, grade, Austlift branded with manufacture quality mark
  • Batch tested, test certificates available upon request
  • Spare latch kits are available
  • Safety factor 4 to 1
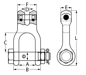
CODE CHAIN SIZE WLL Wt. DIMENSIONS (mm)
mm tonne kg A B C D E F L Ø
104308 7/8 2 0.5 31 51 36.3 9 20 36 103.5 16
104310 10 3.2 0.9 34 62 48 12.5 25 46.5 130.7 20
104313 13 5.3 1.6 49 83 64 15 31 59 160 22
104316 16 8 2.7 58 95 69.5 19 40 70 190.5 28.5